产品发布背景:移动设备存储接口的技术挑战
随着移动设备存储需求的不断升级,SD3.0(UHS-I)接口已成为智能手机、平板电脑、可穿戴设备等产品的标准配置。然而,传统存储接口设计中,电平转换电路通常需要多个分立元件,导致PCB面积占用大、设计复杂、信号完整性难以保证。针对这一行业痛点,思瑞浦(3PEAK)正式推出革命性的TPXT0506 SD3.0电平转换芯片,以高集成度和智能自动方向控制为核心优势,为移动设备存储接口设计提供一站式解决方案。

TPXT0506核心技术创新
高度集成的单芯片解决方案
TPXT0506作为一款专业级SD3.0电平转换芯片,集成了传统设计中所需的多个功能模块:
| 集成功能 | 传统方案 | TPXT0506方案 | 优势对比 |
|---|---|---|---|
| 电平转换通道 | 需要多颗分立芯片 | 6通道全集成 | 减少80%PCB面积 |
| 方向控制逻辑 | 外部CPLD/GPIO控制 | 智能自动方向控制 | 简化设计,降低BOM成本 |
| 电源管理 | 多个LDO/电源开关 | 内置电源切换电路 | 提升系统能效15% |
| ESD保护 | 外部TVS阵列 | 集成8kV ESD保护 | 增强系统可靠性 |
智能自动方向控制技术
TPXT0506的核心创新在于其专利的自动方向控制算法:
实时信号检测:自动识别主机与SD卡之间的通信方向
无延迟切换:方向切换时间<10ns,确保UHS-I模式下的高速数据传输
防冲突机制:智能处理总线竞争情况,避免数据损坏
低功耗模式:空闲时自动进入省电状态,待机电流<1µA
关键性能参数
电气特性
工作电压范围:
VCCA(主机侧):1.6V - 3.6V
VCCB(SD卡侧):2.7V - 3.6V
数据传输速率:支持SD3.0 UHS-I SDR104模式,最高208MHz时钟频率
信号完整性:
上升/下降时间:<2ns(匹配SD3.0规范)
传播延迟:<5ns(典型值)
偏斜控制:通道间偏斜<200ps
电源管理:
工作电流:8mA(典型值@208MHz)
关断电流:<1µA
内置1.8V/3.3V自动检测与切换
可靠性指标
ESD保护:±8kV HBM(所有引脚)
工作温度:-40℃至+85℃(工业级版本支持-40℃至+105℃)
封装形式:紧凑型UQFN-16(2.5mm × 1.7mm)
电源上电顺序:支持任意上电顺序,内置防倒灌保护
应用设计优势
简化移动设备存储接口设计
TPXT0506 SD3.0电平转换芯片显著简化了设计流程:
电路设计简化
text
传统方案:应用处理器 → 多颗电平转换芯片 + 方向控制逻辑 + 电源管理 → SD卡座(需要15-20个外围元件)TPXT0506方案:应用处理器 → TPXT0506 → SD卡座(仅需2个旁路电容)
PCB布局优化
封装尺寸缩小60%
减少信号走线长度,改善信号完整性
简化电源网络设计
性能提升表现
信号质量改善:眼图张开度提升30%
功耗降低:整体功耗减少25%
可靠性提升:系统级ESD防护能力增强
生产良率提高:减少元件数量,降低装配故障率
典型应用场景
智能手机与平板电脑
主存储接口:eMMC/UFS与SD卡接口电平转换
扩展存储:支持热插拔的microSD卡接口
双卡设计:单芯片支持双SD卡接口设计
物联网与可穿戴设备
智能手表:扩展存储接口
运动相机:高速数据存储
工业手持设备:可靠的数据存储解决方案
消费电子产品
游戏设备:高速游戏数据存储
数码相机:高速连拍数据缓存
车载娱乐系统:多媒体存储扩展
设计参考与评估
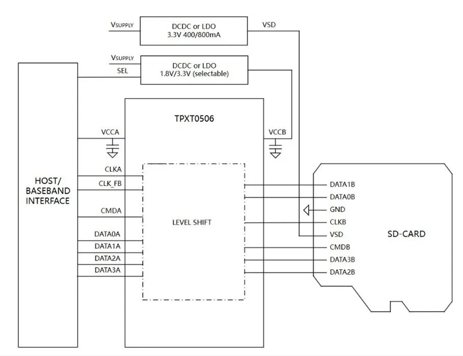
典型应用电路
text
智能手机SD接口应用:应用处理器(1.8V) TPXT0506 SD卡座(3.3V) ├─SD_CLK──────► A1 │ │ B1 ──────► SD_CLK ├─SD_CMD◄─────► A2 │ │ B2 ◄─────► SD_CMD ├─SD_DATA0◄───► A3 │ │ B3 ◄─────► SD_DATA0 ├─SD_DATA1◄───► A4 │ │ B4 ◄─────► SD_DATA1 ├─SD_DATA2◄───► A5 │ │ B5 ◄─────► SD_DATA2 └─SD_DATA3◄───► A6 │ │ B6 ◄─────► SD_DATA3 │ │ │ │ VCCA ├─┤ 7 10 ├─┤ VCCB GND ├─┤ 8 9 ├─┤ GND │ │ │ │ └─┘ └─┘ 1µF 1µF │ │ GND GND
布局指南要点
电源去耦:每个电源引脚放置1µF陶瓷电容,距离<1mm
信号走线:
保持所有数据线等长(偏差<50mil)
使用完整的参考地平面
避免信号线跨越电源分割
热设计:利用中央热焊盘增强散热
市场竞争力分析
与竞品对比优势
| 特性 | TPXT0506 | 传统方案 | 主要竞品 |
|---|---|---|---|
| 集成度 | 6通道全集成 | 多芯片方案 | 4通道需级联 |
| 方向控制 | 全自动智能控制 | 手动/半自动 | 需外部控制 |
| 封装尺寸 | UQFN-16(2.5×1.7mm) | 多封装合计>10mm² | 通常>4mm² |
| 功耗 | 8mA@208MHz | 15-20mA | 10-15mA |
| ESD防护 | ±8kV全引脚 | 需外部TVS | ±4-6kV |
成本效益分析
BOM成本降低:减少约30%的元件成本
设计成本节约:缩短2-3周开发时间
生产成本优化:提高生产线效率,降低测试成本
维护成本减少:提高产品可靠性,降低返修率
实际应用验证
实验室测试数据
思瑞浦实验室的全面测试显示:
兼容性测试:通过SanDisk、Kingston、Samsung等主流品牌SD卡兼容性验证
性能测试:在SDR104模式下,连续读写速度达到98MB/s(接近理论极限)
可靠性测试:通过1000次热插拔测试,100万次读写循环测试
温度测试:在全温度范围内功能正常,性能稳定
客户现场反馈
早期采用客户的评估显示:
设计简化:SD接口设计时间从3周缩短至3天
性能提升:存储读写速度提升15%
空间节省:PCB面积减少40mm²
功耗改善:待机功耗降低50%
供货与技术支持
产品供应计划
工程样品:即日起可通过授权代理商申请
批量供货:2024年第二季度开始大规模供应
包装选项:卷带包装,每卷3000颗,支持自动化贴装
技术支持资源
思瑞浦为TPXT0506 SD3.0电平转换芯片提供:
完整设计套件:包括原理图、PCB封装、布局指南
参考设计板:提供即插即用的评估套件
仿真模型:IBIS模型支持信号完整性仿真
应用支持:专业技术团队提供设计指导
质量保证:完整的AEC-Q100测试报告(车载版本)
行业影响与发展前景
推动移动设备设计革新
TPXT0506的推出将在多个层面影响行业:
设计趋势:推动更高集成度的存储接口设计
性能标准:提升移动设备存储性能基准
成本结构:改变存储接口设计的成本构成
创新应用:为新型移动设备设计提供可能
技术演进路线
基于TPXT0506的成功,思瑞浦正在研发:
下一代产品:支持SD4.0(UHS-II)和SD Express
扩展应用:集成电源管理功能的复合芯片
车载版本:符合AEC-Q100 Grade 2标准的产品
超小型封装:CSP封装满足更紧凑的设计需求
总结:重新定义移动存储接口设计
思瑞浦TPXT0506 SD3.0电平转换芯片的推出,标志着移动设备存储接口设计进入了一个新的时代。通过高集成度设计和智能自动方向控制技术,该芯片不仅解决了传统设计中的诸多难题,更为工程师提供了前所未有的设计灵活性和系统性能。
在移动设备日益轻薄化、高性能化的今天,TPXT0506的出现恰逢其时。它不仅能帮助设备制造商简化设计、降低成本,更能提升最终产品的性能和用户体验。随着5G、人工智能等技术的快速发展,高速、可靠的存储接口将成为移动设备的必备能力,而TPXT0506正是实现这一目标的关键技术支撑。
展望未来,思瑞浦将继续深耕接口芯片领域,以技术创新推动行业发展,为全球客户提供更多优质的芯片解决方案。
首页产品中心代理品牌IC学院 IC资讯成功案例常见问题了解昊海鑫 企业新闻联系我们企业招聘
Copyright © 2005-2010 All rights reserved 深圳市昊海鑫科技有限公司 粤ICP备18143393号CNZZ()
地址:广东省深圳市宝安区西乡街道固戍社区宝源路北侧宝港中心411电话:0755-33561021
传真:0755-85298357邮箱:haixinkeji@163.com技术支持:昊海鑫科技
深圳最专业的IC代理商,IC供应商,TPOWER代理商,英集芯代理商,3PEAK代理商,帝奥微代理商,纳芯微代理商,EON代理商,Winbond代理商.你身边最优秀的IC供应商合作伙伴
升邦科技官方微信
扫一扫立即加关注