1、基本的脉冲宽度调制波形

2、Buck降压

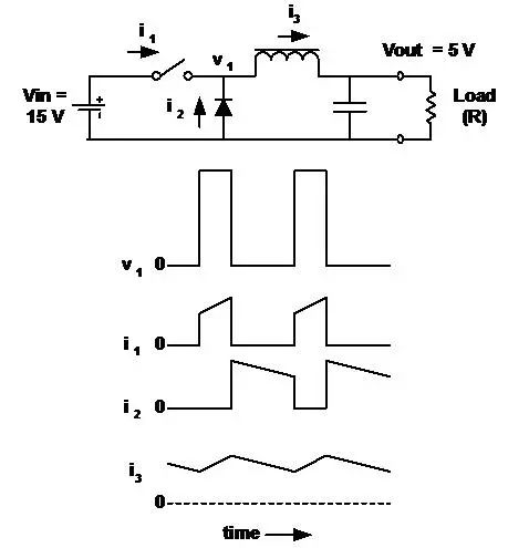
3、Boost升压

4、Buck-Boost降压-升压

5、Flyback反激

6、Forward正激

7、Two-Transistor Forward双晶体管正激

8、Push-Pull推挽

9、Half-Bridge半桥

10、Full-Bridge全桥

11、SEPIC单端初级电感变换器

12、C’uk(Slobodan C’uk的专利)

13、电路工作的细节 14、Buck-降压调整器-连续导电 15、Buck-降压调整器-临界导电 16、Buck-降压调整器-不连续导电

17、Boost升压调整器


18、变压器工作(包括初级电感的作用)

19、反激变压器

20、Forward 正激变换变压器

首页产品中心代理品牌IC学院 IC资讯成功案例常见问题了解昊海鑫 企业新闻联系我们企业招聘
Copyright © 2005-2010 All rights reserved 深圳市昊海鑫科技有限公司 粤ICP备18143393号CNZZ()
地址:广东省深圳市宝安区西乡街道固戍社区宝源路北侧宝港中心411电话:0755-33561021
传真:0755-85298357邮箱:haixinkeji@163.com技术支持:昊海鑫科技
深圳最专业的IC代理商,IC供应商,TPOWER代理商,英集芯代理商,3PEAK代理商,帝奥微代理商,纳芯微代理商,EON代理商,Winbond代理商.你身边最优秀的IC供应商合作伙伴
升邦科技官方微信
扫一扫立即加关注